Разъединитель ВД1-3751П 400А с передним правым ручным приводом
- Производитель:
- Артикул:VD1-3751-P-G
- Код товара:ТС000031145
Описание
Переключатели-разъединители трехполюсные для переднего присоединения проводников с передним приводом правого расположения, предназначены для нечастых неавтоматических коммутаций электрических цепей переменного тока частотой 50Гц, напряжением 380В, для комплектации силовых ящиков, шкафов, щитов и других распределительных устройств.
Аппарат серии ВД1-3751 имеет категорию применения АС-20В (соединение и разъединение электрических цепей без нагрузки) по ГОСТ IEC 60947-3-2016.
Переключатель обладает возможностью "аварийного" переключения под нагрузкой.
Номинальный рабочий ток, А: 400
Категория применения: АС-20В
Максимальное количество и сечение проводников, присоединяемых к одному выводу, мм2:2х120
Диаметр болта контактного зажима: М12
Документация
Характеристики
- Производитель:Электродеталь
- Наименование:Рубильник без предохранителей
- Вид:Разъединитель
- Номинальный ток:400
- Наличие корпуса:нет
- Количество полюсов, шт:3
- Расположение рукоятки:Справа
- Привод:Передний
- Материал корпуса:Сталь
- Наличие дугогасительных камер:Нет
- Номинальная отключающая способность, кA:10
- Частота:50 Гц
- Напряжение, В:380
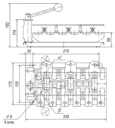
- Высота, мм:116
- Ширина, мм:175
- Длина, мм:335
- Степень защиты, IP:X0
- Температура эксплуатации, °С:-60....+40
- Климатическое исполнение:УХЛ3
- Вес одного изделия, кг:4
- Страна производитель:Россия


Как получить скидку?